关于2022年二月份“学习强国”平台学习情况的通报

2022-04-23 17:21:39

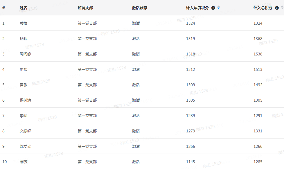
二月份,一支部活跃学员28人,学习强国月平均参与率98%,学员月最高得分1324分,整体学习态势良好。三月积分排前十名党员分别是:黄慎、杨戟、周闻峥、申郑、曾敏、杨树清、李莉、文峥嵘、陈爱武、陈薇。现对以上同志进行通报表扬,希望其他党员同志向学习积极分子看齐,努力学习,力争上游,自觉养成良好的学习习惯,形成“比、学、赶、帮、超”的良好氛围。希望全体党员进一步提高政治站位,提高对习近平新时代中国特色社会主义思想重要性的认识,把平台作为日常学习互相交流的重要途径,经常学习、深入学习、联系实际学习,入脑入心,做到学有所获,学有所悟,学以致用,自觉强化理论武装头脑,自觉增强“四个意识”,坚定“四个自信”,做到“两个维护”。

月份教工第一党支部党员(前十名)“学习强国”学习情况

通识学院党总支(含第一、二支部)2022月份“学习强国”学习情况

责任编辑:王璐璐

我要评论 (网友评论仅供其表达个人看法,并不表明本站同意其观点或证实其描述)

全部评论 ( 条)

    二月份,一支部活跃学员28人,学习强国月平均参与率98%,学员月最高得分1324分,整体学习态势良好。
    说明:热度榜主要以育人号最近72小时的活跃度(包括发文量、浏览量、评论数、点赞数)和近24小时的更新数为主要指标进行计算。其中前者占60%,后者占40%。